TM 9-2350-287-10
EMERGENCY PROCEDURES (continued)
WARNING
When safety handle is released in this procedure, door may drop rapidly. Two persons should
support weight of door throughout this procedure to make sure door lowers slowly.
Keep hands and feet clear of doorway.
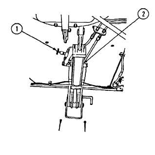
2.
To close upper rear door
a. Turn MASTER switch to ON.
b. Open dump valve (1) on hydraulic actuator (2).
2-238